Nginx 是一个很强大的高性能 Web 和反向代理服务,它具有很多非常优越的特性,在连接高并发的情况下,Nginx 是 Apache 服务不错的替代品。其特点是占有内存少,并发能力强,事实上 nginx 的并发能力在同类型的网页服务器中表现较好,因此国内知名大厂例如:淘宝,京东,百度,新浪,网易,腾讯等等都在使用 Nginx 网站。
在我们的日常工作学习中,我们会该如何去优化自己的 Nginx 服务器?遇到以下问题我们该如何处理呢?
1)优化前,客户端使用浏览器访问不存在的页面,会提示404文件未找到
# firefox http://192.168.4.5/xxxxx //访问一个不存在的页面
2)修改 Nginx 配置文件,自定义报错页面
[root@proxy ~]# vim /usr/local/nginx/conf/nginx.conf.. ..charset utf-8; //仅在需要中文时修改该选项error_page 404 /404.html; //自定义错误页面.. ..# vim /usr/local/nginx/html/404.html //生成错误页面Oops,No NO no page …# nginx -s reload# 请先确保 nginx 是启动状态,否则运行该命令会报错,报错信息如下:#[error] open() "/usr/local/nginx/logs/nginx.pid" failed (2: No such file or directory)
# firefox http://192.168.4.5/xxxxx //访问一个不存在的页面
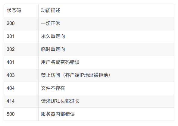
常见的 http 状态码可用参考表所示

--with-http_stub_status_module开启状态页面模块
# tar -zxvf nginx-1.12.2.tar.gz# cd nginx-1.12.2# ./configure \> --with-http_ssl_module //开启SSL加密功能> --with-stream //开启TCP/UDP代理模块> --with-http_stub_status_module //开启status状态页面# make && make install //编译并安装
注意:在 RHEL7 系统中可以使用ss命令替代 netstat 命令,功能一样,选项一样。
# /usr/local/nginx/sbin/nginx# netstat -anptu | grep nginxtcp 0 0 0.0.0.0:80 0.0.0.0:* LISTEN 10441/nginx# ss -anptu | grep nginx
3)修改 Nginx 配置文件,定义状态页面
# cat /usr/local/nginx/conf/nginx.conf… …location /status {stub_status on;#allow IP地址;#deny IP地址;}… …# /usr/local/nginx/sbin/nginx -s reload
4)优化后,查看状态页面信息
# curl http://192.168.4.5/statusActive connections: 1server accepts handled requests10 10 3Reading: 0 Writing: 1 Waiting: 0
1)优化前使用ab高并发测试
# ab -n 2000 -c 2000 http://192.168.4.5/Benchmarking 192.168.4.5 (be patient)socket: Too many open files (24) //提示打开文件数量过多
2)修改 Nginx 配置文件,增加并发量
# vim /usr/local/nginx/conf/nginx.conf.. ..worker_processes 2; //与CPU核心数量一致events {worker_connections 65535; //每个worker最大并发连接数}.. ..# /usr/local/nginx/sbin/nginx -s reload
3)优化 Linux 内核参数(最大文件数量)
# ulimit -a //查看所有属性值# ulimit -Hn 100000 //设置硬限制(临时规则)# ulimit -Sn 100000 //设置软限制(临时规则)# vim /etc/security/limits.conf.. ..* soft nofile 100000* hard nofile 100000#该配置文件分4列,分别如下:10.#用户或组 硬限制或软限制 需要限制的项目 限制的值
4)优化后测试服务器并发量(因为客户端没调内核参数,所以在proxy测试)
# ab -n 2000 -c 2000 http://192.168.4.5/
1)优化前,使用脚本测试长头部请求是否能获得响应
[root@proxy ~]# cat lnmp_soft/buffer.sh#!/bin/bashURL=http://192.168.4.5/index.html?for i in {1..5000}doURL=${URL}v$i=$idonecurl $URL //经过5000次循环后,生成一个长的URL地址栏[root@proxy ~]# ./buffer.sh.. ..<center><h1>414 Request-URI Too Large</h1></center> //提示头部信息过大
2)修改 Nginx 配置文件,增加数据包头部缓存大小
# vim /usr/local/nginx/conf/nginx.conf... ..http {client_header_buffer_size 1k; //默认请求包头信息的缓存large_client_header_buffers 4 4k; //大请求包头部信息的缓存个数与容量.. ..}# /usr/local/nginx/sbin/nginx -s reload
3)优化后,使用脚本测试长头部请求是否能获得响应
1.[root@proxy ~]# cat buffer.sh2.#!/bin/bash3.URL=http://192.168.4.5/index.html?4.for i in {1..5000}5.do6. URL=${URL}v$i=$i7.done8.curl $URL9.[root@proxy ~]# ./buffer.sh
1)使用Firefox浏览器查看缓存
以Firefox浏览器为例,在Firefox地址栏内输入about:cache将显示Firefox浏览器的缓存信息,如图所示,点击List Cache Entries可以查看详细信息。

2)清空firefox本地缓存数据,如图所示。

3)改Nginx配置文件,定义对静态页面的缓存时间
# vim /usr/local/nginx/conf/nginx.confserver {listen 80;server_name localhost;location / {root html;index index.html index.htm;}location ~* \.(jpg|jpeg|gif|png|css|js|ico|xml)$ {expires 30d; //定义客户端缓存时间为30天}}# cp /usr/share/backgrounds/day.jpg /usr/local/nginx/html# /usr/local/nginx/sbin/nginx -s reload#请先确保nginx是启动状态,否则运行该命令会报错,报错信息如下:16.#[error] open() "/usr/local/nginx/logs/nginx.pid" failed (2: No such file or directory)
4)优化后,使用Firefox浏览器访问图片,再次查看缓存信息
# firefox http://192.168.4.5/day.jpg